EN
EN

PRODUCT CENTER

产品中心

超声波水表系列RH-SCS水表缩径系列(铸钢)大口径超声水表
返回列表
产品描述

● 口径:DN(50-200)

● 铸钢管段

● 四声道测量

● 支持物联网应用(NB-loT、4G)


技术参数

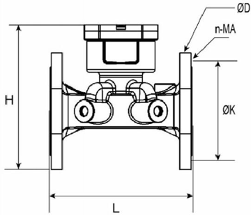
外形尺寸

image.png

image.png

专利证书
体系认证
产品样本下载

COPYRIGHT © 2020 重庆融焕电器有限公司 ALL RIGHTS RESERVED    渝公网安备 50022402000587号   渝ICP备18001675号-1   技术支持:精科数码

自来水管理信息化综合平台 燃气管理信息化综合平台 重庆融焕电器智能表务管理系统新版